医疗污水处理机品质良好
一、医疗污水处理机品质良好:
医疗污水处理机采用生物接触氧化处理工艺,生物处理装置要求技术可行,运行费用低廉,经济合理,设备可靠先进,工艺技术具有一定的耐冲击负荷和操作灵活性。严格执行国家现行的环保技术标准、规范,遵守国家和地方环保的有关法律、法规,废水经治理后,确保各项水质指标均达到《医疗机构水污染物排放标准》(GB 18466-2005)标准的要求。

二、医疗污水处理机处理工艺:
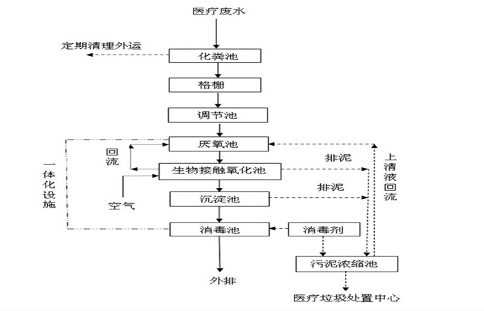
(1)预处理:废水的预处理是整个系统能否有效运行的关键。废水中含有大量易腐化的有机物,必须在进入处理系统前加以拦截,以防止悬浮固体有机质腐化成为溶解性有机质,导致废水CODCr、BOD5浓度升高。常用的预处理方法很多,主要包括:调节、隔油等。
(2)接触氧化法:它是一种好氧生物膜法工艺,微生物以生物膜形式及悬浮态生长于水中,因此它兼具活性污泥及生物滤池二者的特点。池内设置立体弹性填料和曝气管路系统,并于曝气管路系统上安装微孔曝气器。弹性填料由拉毛的PP材质的丝条和绞绳制成,呈圆形毛刷状,比表面积大,能附着大量的微生物膜。该填料挂膜快,脱膜容易,运行时丝条对空气泡能起到极好的切割作用,使大气泡切割成小气泡,可增加气液接触面积,促进氧的传递,从而提高处理效果。该工艺负荷高、停留时间短、挂膜快、运行稳定。
(3)消毒:医院污水中含有大肠杆菌超标,因此在污水排放前必须加以消毒,最有效的杀菌工艺是二氧化氯消毒,二氧化氯发生器以盐酸和氯酸钠为原料,采用负压曝气工艺,生产以二氧化氯为主,氯气为铺的复合消毒液,工业盐酸应符合国家标准《GB320--93工业合成盐酸》的要求。


三、医疗污水处理机优点:
1、占地面积小、安装方便;
2、自动运行、操作简单、整个系统无需专人管理;
3、系统处理效果稳定可靠;
4、外表美观、结构紧凑、便于移动;
5、无需投加药剂,节省后续运行成本。

四、医疗污水处理机控制系统:
1.设全自动控制及手动控制功能。
2.水泵与风机能在设置时间内自动交替使用。
3.进水泵低水位停止,高水位启动,超警戒水位提供报警信号。
4.设备停止工作2小时以上,为保持生物膜的活性,风机能定时间歇运行。
5.设有过流、过载、断相、短路保护,故障自动切换并声光报警。
6.污水处理站24小时运行,控制系统自动化水平较高,只需配备1名兼职人员

五、医疗污水处理机电气配置:
(1)、污水泵
调节池内污水泵符合以下工况,水泵的启动受液位控制。
a、高液位;报警,同时启动水泵;
b、低液位:报警,关闭水泵;
(2)、风机
风机设置2台,风机8-12小时内交替运行,风机与水泵实行联动,当水泵停止工作时,风机间歇工作。
(3)、污泥回流泵及电磁阀
沉淀池中的污泥回流泵,每隔1小时工作一次,每次历时15分钟。
(4)、其他
a、各类电气设备均设置电路短路和过载保护装置。
b、动力电源由本电站提供,进入污水处理站动力配电柜。


返回首页
电话
产品中心