医疗污水处理器价格
一、医疗污水处理器价格:
医疗污水处理器价格根据设备尺寸及排放标准定制加工,医疗污水处理器从几万到十几万、几十万的都有,不同的处理量、排放标准选择不同的设备配置尺寸,价格也是不一样的,具体的设备报价方案电话联系我们免费提供。

二、医疗污水处理器设计要求:
(1) 工艺流程配置合理,运行安全、可靠、简单易行。
(2) 设备内部布置考虑运行、维修人员的操作条件。
(3) 各单元设备的计算合理、准确、可靠。
(4) 就地控制柜考虑自动及手动两种方式。
(5) 根据进出水水质、水量要求,以生物处理工艺为基础合理设计整套工艺系统。

三、医疗污水处理器特点:
1.流程简单、构筑物少,可节省土建费用;
2.厌氧阶段可以降低污水的COD浓度,从而减少后续好氧池的处理压力,保证处理效果达标;
3.反硝化池不需要外加碳源,降低了运行费用;
4.流程中好氧池在缺氧池之后,可以使反硝化残留的有机污染物得到进一步去除,提高出水水池;
5.BOD5去除率和脱氮效率高;
6.剩余污泥量少;
7.采用生化后深度处理除磷、过滤、消毒,保证了出水水质的稳定。

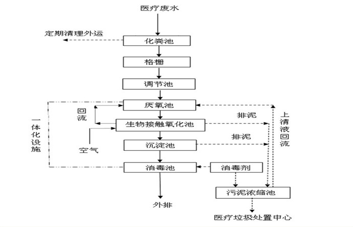
四、医疗污水处理器工艺流程:
(1)预处理:废水的预处理是整个系统能否有效运行的关键。废水中含有大量易腐化的有机物,必须在进入处理系统前加以拦截,以防止悬浮固体有机质腐化成为溶解性有机质,导致废水CODCr、BOD5浓度升高。考虑到本工程的水量及水质特点,预处理工艺采用格栅、综合调节相结合的工艺。
(2)水解酸化工艺是通过控制水力停留时间及水中溶解氧的浓度,将生物的厌氧过程控制在水解及酸化阶段,不要求进入产乙酸和产甲烷阶段,从而缩短了反应的进程和时间。其主要的优势在于能够去除较多的有机物、降解分子量大和碳链较长的物质、提高进水的可生化性,同时由于其不进入产甲烷阶段,对环境条件的要求较低,能够抵抗一定的水质和水量的冲击负荷,同时水解酸化反应在厌氧和缺氧条件下都能够发生,对反应池的结构形式要求较低。水解酸化是将厌氧过程控制在水解和酸化阶段即可,因此水解酸化反应池的停留时间短,反应池内的优势菌群为水解酸化菌,少数为乙酸菌和产甲烷菌。另外,水解酸化工艺不进入产甲烷阶段,产生的少量气体可直接排入大气中,不会对人体和周围环境产生较大的影响。
(3)生化处理:
接触氧化法是一种好氧生物膜法工艺,微生物以生物膜形式及悬浮态生长于水中,因此它兼具活性污泥及生物滤池二者的特点。池内设置立体弹性填料和曝气管路系统,并于曝气管路系统上安装微孔曝气器。弹性填料由拉毛的PP材质的丝条和绞绳制成,呈圆形毛刷状,比表面积大,能附着大量的微生物膜。该填料挂膜快,脱膜容易,运行时丝条对空气泡能起到极好的切割作用,使大气泡切割成小气泡,可增加气液接触面积,促进氧的传递,从而提高处理效果。该工艺负荷高、停留时间短、挂膜快、运行稳定,比较适合小规模企业中小型污水处理站的建设,倍受环保公司及用户青睐。
(4)消毒:医院污水中含有大肠杆菌超标,因此在污水排放前必须加以消毒,有效的杀菌工艺是二氧化氯消毒,二氧化氯发生器以盐酸和氯酸钠为原料,采用负压曝气工艺,生产以二氧化氯为主,氯气为铺的复合消毒液,工业盐酸应符合国家标准《GB320--93工业合成盐酸》的要求。氯酸钠应符合《GB1618--1995工业用氯酸钠》的要求。


五、医疗污水处理器服务承诺:
1、严格按业主的要求,保证进度,保证质量完成项目。
2、凡是我方提供的所有材料以及整体工程,均实行12个月免费保修,该保修期自整体项目竣工验收合格之日起计算。
3、凡属我方承包范围和内容的项目,我方在接到修理通知的2小时内给予答复, 48小时内派人修理。
4、在保修期内向业主提供的所有售后服务属无偿服务。
5、我方承诺,对设备质量终身维护。
6、我方承诺将终身维护,并以优惠的价格(成本价)对设备提供修理服务。



返回首页
电话
产品中心